Drukregelaar Drukopbouw en functie
De volle capaciteit van de pomp wordt veelal door de drukregelaar geleid. De druk op zich wordt geregeld door middel van het opspannen van een veer of schotelveerpakket de drukregelaar.
In bepaalde gevallen is de drukregelaar voorzien van een handwiel. In andere gevallen is het noodzakelijk een steeksleutel te gebruiken, dan wel dient een inbussleutel te worden toegepast.
Het met de klok meedraaien verhoogt de werkdruk.
Het tegen de klok indraaien verlaagt de werkdruk.

Zodra het indraaien van de regelaar niet meer resulteert in een hogere druk, direct verder indraaien stoppen. Er is nu een evenwicht aanwezig tussen het waterverbruik van de toegepaste sproeier en de pompcapaciteit.
Tijdens het indraaien wordt het aanwezige overstortwater verkleind. Het verdient aanbeveling, continu een kleine hoeveelheid water over te storten; als richtwaarde ca. 5 - 10 % van de pompcapaciteit. Het meer of minder overstorten van de drukregelaar is derhalve tijdens bedrijf normaal en mag nooit door het afstoppen van de overstortopening (by-pass) van de drukregelaar verhinderd worden.
Drukregelaars met drukontlastklep (ontlastventielen / unloaders)
Bij dit type drukregelaar zal bij het sluiten van het spuitpistool, als gevolg van een stagnerende doorstroming, een terugslagventiel sluiten, waardoor de drukregelaar wordt omgeschakeld naar drukontlasten.
Het water wordt vrijwel druk loos via de overstortopening (by-pass) afgevoerd. Hierdoor zal geen opwarming plaatsvinden.

De ingestelde werkdruk blijft tussen het spuitpistool en de drukregelaar aanwezig. Bij het openen van het spuitpistool is de ingestelde werkdruk vrijwel direct weer beschikbaar.
De pomp dient bij voorkeur stil gezet te worden met gesloten spuitpistool (de pomp is dan druk ontlast), dan wel met teruggedraaide drukregelaar (verlaagde druk).
Waarschuwing: Na afschakelen van de pomp is nog rest druk in de slang aanwezig.
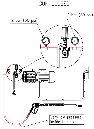
Drukregelaars met drukontlastklep ZERO serie (ontlastventielen / unloaders)
De drukregelautomaten uit de ZERO-serie maken het gehele systeem, inclusief de slang, nagenoeg drukloos bij gesloten pistool.
Hierdoor vraagt het in knijpen van het spuitpistool minder kracht en geeft dit minder terugslag.
Drukregelaars zonder drukontlastklep (Pressure regulators)
Bij dit type drukregelaar zal tijdens het sluiten van het spuitpistool de volle pompcapaciteit overgestort worden. De pomp blijft hierbij normaal op druk.
Pomp bij voorkeur stilzetten met teruggedraaide drukregelaar (verlaagde druk).
Onderstaand word een filmpje weergegeven waarop duidelijk het verschil word weergegeven tussen een drukregelaar met ontlastklep (ook wel Unloader genoemd) en een drukregelaar zonder ontlastklep (ook wel regulator genoemd).
- Bij het los laten van het spuitpistool blijft bij de regulator (drukregelaar zonder ontlastklep) de druk aanwezig tussen te pomp en de drukregelaar
- Bij het los laten van het spuitpistool is bij de unloader (drukregelaar met ontlastklep) de druk verdwenen tussen te pomp en de drukregelaar